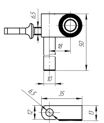
Large Sleeve for Bone Repositioning, Article 380.010.040-001

Large Sleeve for Bone Repositioning, Article 380.010.040-001

US$9-36
Length: 100
Outer diameter: 10
OSTEOMED-M LLC 🇷🇺