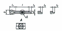
GOST 397-79 Cotter Pins for Securing Low-Load Components

GOST 397-79 Cotter Pins for Securing Low-Load Components

US$0.01-0.12
Diameter: 1.2...3
Length: 1...10
AVIASERVIS LLC 🇷🇺