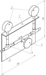
Laboratory Manometric Gas Panel MЛ-ПГМ

Laboratory Manometric Gas Panel MЛ-ПГМ

US$150-540
Height: 255
Depth: 100
Liga OJSC 🇷🇺
Shelf XL Priority Panels for Gas Pressure Control

Shelf XL Priority Panels for Gas Pressure Control

US$900-3,600
Number of lines: 1...10
Pressure rating: 25
SHELF LLC 🇷🇺