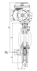
Temperature Control Valve 24s-50-E for Steam Regulation

Temperature Control Valve 24s-50-E for Steam Regulation

US$900-3,000
Pressure: 37.3
Material: Steel 20
BKZ LLC 🇷🇺
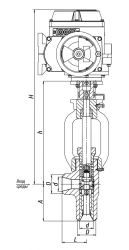
Temperature Control Valve 22c-32-1-E

Temperature Control Valve 22c-32-1-E

US$900-3,000
Diameter: 32
Pressure: 25
BKZ LLC 🇷🇺