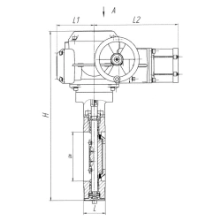
Electric Actuated Butterfly Valve IP65, Bronze, DN 80, PN 10

Electric Actuated Butterfly Valve IP65, Bronze, DN 80, PN 10

US$900-3,000
Shutter type: Disk
Shutter type: Disk
ARMALIT OJSC 🇷🇺